Small Motor Armature Shaft
- Hand: Left
- Number of Starts: 1
- Outside Diameter: .308/.312
- Root Diameter: 0.182/0.178
- Pitch Diameter: .2323
- Axial Pitch: 0.1255
Whirling Time
- Floor-To-Floor: 10 Seconds

Automotive Steering Worm
- Material: SAE-5115 Steel
- Number of Starts: 1
- Outside Diameter: 0.863
- Root Diameter: 0.6406
- Axial Pitch: 0.4851
Whirling Time
- Floor-To-Floor: 30 Seconds

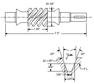
Gear Worm
- Material: 11L41 Steel
- Number Of Starts: 3
- Linear Pitch: .500″
- Lead: 1.500″
- Pitch Diameter: 1.375″
- Whole Depth: .311″
Whirling Time
- Without Loading: 80 Seconds
